تنظیمات شیر بلین
شیر برقی یا شیر کنترل، اصلی ترین قطعه در پارویونیت آسانسور هیدرولیک است و شیر بلین از جمله معتبرترین و با کیفیت ترین انواع شیر کنترل در تمام دنیا است. یکی از ویژگی های بارز شیرهای برقی آسانسور هیدرولیک ساخت شرکت بلین آلمان قابلیات تنظیمات آنها است. شیر بلین چهار بوبین مدل EV100 کامل ترین شیر شرکت BLAIN آلمان در لاین محصولات آسانسور هیدرولیک با عملکرد مکانیکال است. تنظیمات کامل شیر بلین در این مطلب گنجانده شده است. ابتدا به تنظیم شیر بلین چهار بوبین مدل EV100 پرداخته شده و در ادامه تنظیم شیر بلین تک بوبین، دوبوبین و سه بوبین تشریح شده اند. در قسمت اول یک راهنمای سریع برای تنظیم شیر بلین چهار بوبین آورده شده که مشخص می کند هر پیچ تنظیم برای کدام قسمت از منحنی است. سپس به شرح کامل تنظیمات شیر چهار بوبین بلین پرداخته ایم. در سرویس و نگهداری آسانسورهای هیدرولیک بطور معمول تنظیمات شیر نیز بازدید می شود.

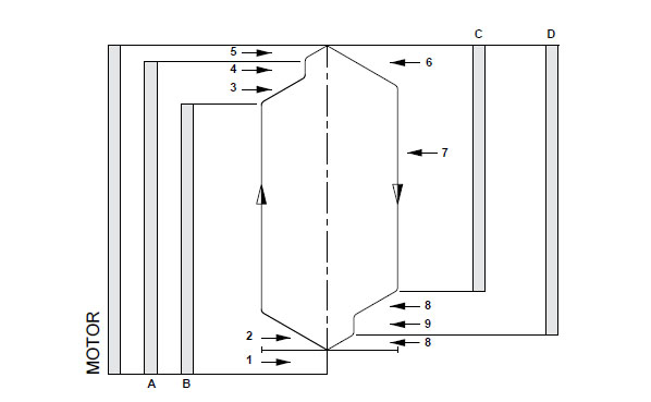
راهنمای سریع تنظیم شیر بلین چهار بوبین
- پیج 1: مدت تاخیر پیش از استارت (بای پاس اولیه)
- پیچ 2: شتاب افزایشی سرعت جهت بالا
- پیچ 3: شتاب کاهشی سرعت جهت بالا
- پیچ 4: تنظیم سرعت کند جهت بالا
- پیچ 5: تنظیم توقف جهت بالا
- پیچ 6: شتاب افزایشی سرعت جهت پایین
- پیچ 7: تنظیم سرعت تند جهت پایین
- پیچ 8: شتاب کاهشی و توقف جهت پایین
- پیچ 9: تنظیم سرعت کند جهت پایین
- پیچ S: تنظیم فشار شکن
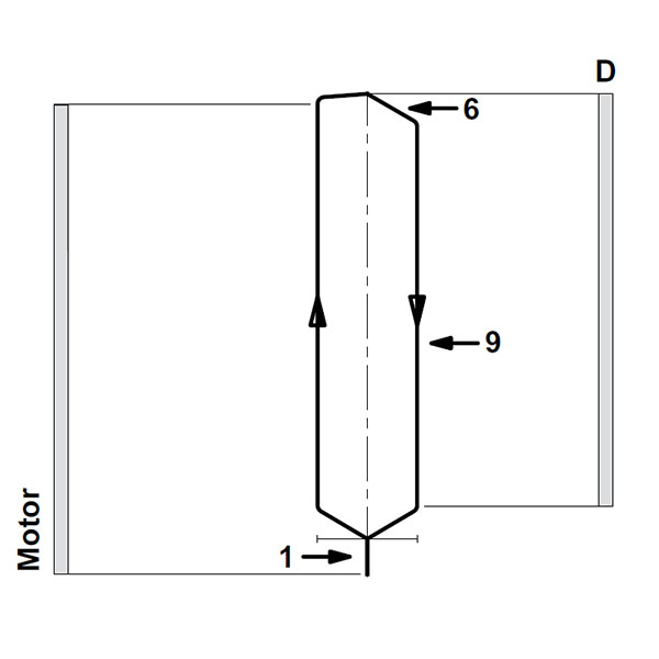
منحنی سرعت شیر بلین چهار بوبین مدل EV100
شیر بلین چهار بوبین مدل EV100 منحنی حرکت دو سرعته دارد. با شروع حرکت در جهت بالا دو بوبین A و B و موتور پمپ فعال شده و سرعت با یک شتاب افزاینده به حداکثر خود می رسد. پس از طی مسیر پیش از توقف بوبین سرعت تند متوقف شده و سرعت آسانسور کاهش می یابد. آسانسور پیش از توقف باقیمانده مسیر را با سرعت کند حرکت کرده و در نهایت به آرامی متوقف می شود. با استارت جهت پایین بوبین های C و D بدون عملکرد موتور فعال شده و پس از مدت زمانی مشخص به حداکثر سرعت می رسند. سرعت حداکثر جهت پایین قابل تنظیم است. پیش از توقف بوبین سرعت تند از بی برق می شود و سرعت به تدریج کاهش می یابد. پس از طی مسیر باقیمانده با سرعت کند دستگاه به آرامی و بدون شوک توقف کامل می کند.

تنظیم کامل شیر چهار بوبین بلین مدل EV100
شیر بلین مدل EV100 که در دو سه سایز 3/4، 1/2 1 و 1/2 2 طراحی شده را می توان کاملترین شیر مکانیکی آسانسور دانست. یکی از مهمترین ویژگی های این شیر کنترل کامل و با کیفیت قابلیت های پیشرفته برای تنظیمات است. تقریبا هر بخش از حرکت شامل توقف ها، شتاب های کاهشی، شتاب های افزایشی، سرعت کند و … بصورت جداگانه برای حرکت پایین و بالا قابل تنظیم هستند. در ادامه تمام تنظیمات شیر بلین بصورت کامل شرح داده شده است.
تنظیم تاخیر پیش از استارت (بای پاس)
پس از استارت در جهت بالا موتور بلافاصله روشن شده و پمپ را به گردش در می آورد. گردش پمپ باعث تولید جریان روغن می شود. در این مرحله شیر کنترل بمنظور تعدیل جریان و برخی دلایل فنی دیگر ابتدا اجازه خروج روغن را نمی دهد. لبکه روغن را برای مدت کوتاهی بای پاس کرده و به تانک باز میگرداند. مدت زمان این تاخیر را می توان با تنظیم پیچ شماره 1 تغییر داد. با چرخاندن پیچ شماره 1 به سمت داخل یعنی ساعتگرد، مدت وقفه بیشتر می شود. کارشناسان فنی بالاکو برای تنظیم دقیق این تاخیر از دستورالعملی استفاده میکنند که شرکت بلین توصیه نموده است. با گردش پیچ به سمت خارج این زمان تاخیر کمتر می شود.
شتاب افزایشی جهت بالای شیر چهار بوبین
شروع حرکت آسانسور با افزایش تدریجی سرعت بستگی به شتاب افزایشی دارد. میزان شتاب در اینجا تعیین میکند که تغییرات سرعت در چه مدت زمانی صورت گیرد. هر چقدر شتاب بیشتر باشد، افزایش سرعت آسانسور در جهت بالا سریع تر خواهد بود. به عبارتی دیگر کابین آسانسور در زمان کوتاه تری به حداکثر سرعت خود می رسد. برای تنظیم این شتاب باید پیچ شماره 2 را دستکاری کرد. کارشناسان فنی بالاکو توصیه می نمایند تا حد امکان تنظیمات این پیچ تغییر نکند. با گردش پیچ شماره 2 بصورت راستگرد شتاب کاهش می یابد. در این وضعیت مدت زمان تغییر سرعت افزایش می یابد. گردش پیچ در جهت خلاف ساعت نتیجه معکوس خواهد داشت و باعث تند شدن شتاب می شود.
شتاب کاهشی جهت بالای شیر چهار بوبین
پیش از توقف ابتدا باید سرعت آسانسور کاهش یابد. تغییر سرعت از تند به کند با شتاب کاهنده انجام می شود. این شتاب هر چه بیشتر باشد تغییرات سرعت سریعتر انجام می شود. در حالیکه اگر شتاب کاهشی کمتر تنظیم شود، سرعت آسانسور از تند به کند آرام تر و در زمان بیشتری صورت می گیرد. برای تغییر شتاب کاهشی جهت بالا باید پیچ شماره 3 را دستگاری کرد. با چرخش راستگرد پیچ شماره 3 شتاب کاهش می یابد. بدیهی است که با چرخش پیج بصورت معکوس شتاب افزایش می یابد.
سرعت تند جهت بالا
سرعت تند یا حداکثر در جهت بالا به هیچ عنوان از طریق شیر کنترل تنظیم نمی شود. در واقع سرعت جهت بالا به میزان جریان پمپ و به تبع آن توان موتور بستگی دارد و مقداری ثابت است. البته تغییر پمپ برای تغییر سرعت نیز کار چندان منطقی و راحتی نیست زیرا در اینصورت هم الکتروموتور باید تغییر کند و هم اسپول های شیر.
سرعت کند جهت بالا در شیر بلین چهار بوبین
پیش از توقف کامل، شیر کنترل EV100 سرعت آسانسور را برای مدتی در وضعیت هم سطح سازی یا همان سرعت کند تنظیم میکند. حرکت آسانسور با سرعت کند برای ایجاد یک توقف نرم و بدون شوک ضروری است. مقدار این سرعت باید به اندازه ای باشد تا توقف به نرمی و نامحسوس ایجاد شود. برای تنظیم سرعت کند در جهت بالا از پیچ شماره 4 استفاده می شود. اگر پیچ را به سمت راست بچرخانید سرعت کند کاهش می یابد. اگر پیچ را به چپ بچرخانید سرعت کند افزایش می یابد.
تنظیم توقف جهت بالا در شیر EV100
شیر چهار بوبین بلین مدل EV100 قابلیت تنظیم توقف در جهت بالا را نیز دارد. به توصیه کارشناسان فنی بالاکو، این تنظیم بهتر است با قرار دادن نصف میزان بار مجاز در کابین انجام شود تا بهترین نتیجه عاید گردد. پیچ تنظیم شماره 5 مخصوص توقف جهت بالا است. با گردش پیچ در جهت عقربه ساعت توقف آهسته تر انجام می شود در حالیکه با چرخش معکوس توقف سریعتر می شود. یک نکته مهم در این تنظیم قابلیت تابلوی فرمان است که باید از منحنی شیر کنترل پشتیبانی کند. برای اطلاع بیشتر در این زمینه به مطلب مرتبط با تابلوی فرمان آسانسور هیدرولیک مراجعه کنید.
شتاب افزایشی جهت پایین در شیر بلین 4 بوبین
حرکت جهت بالا تقریبا مشابه حرکت جهت پایین است. شتاب افزایشی، مبین تغییرات سرعت (افزایش آن) در جهت پایین است. با چرحاندن پیچ شماره 6 بصورت راستگرد شتاب افزایشی کمتر می شود. یعنی تغییر سرعت در بازه زمانی بزرگتری صورت گرفته و آرام تر خواهد بود. نتیجه کار با چرخاندن معکوس پیچ نیز مشخص است.
سرعت تند جهت پایین در شیر بلین EV100
برخلاف سرعت جهت بالا، با استفاده از تنظیم شیر بلین چهار بوبین می توان حداکثر سرعت حرکت در جهت پایین را تغییر داد. در واقع سرعت پایین آمدن آسانسور کاملا مستقل از سرعت بالا رفتن آن است. اگرچه تیم فنی بالاکو پیشنهاد می نماید حتما سرعت پایین را معادل سرعت بالا تنظیم کنید. پیچ شماره 7 در تنظیمات شیر چهار بوبین بلین سرعت تند را تغییر می دهد. با گردش پیچ به سمت داخل (ساعتگرد) سرعت کاهش می یابد و با گردش به چپ سرعت افزایش می یابد.
تنظیم شتاب کاهشی جهت پایین
پیچ شماره 8 مخصوص تنظیم شتاب کاهشی جهت پایین در شیر بلین چهار بوبین است. شتاب کاهشی در واقع متناظر با زمانی است که سرعت تند به سرعت کند کاهش می یابد. با گردش پیچ در جهت عقربه های ساعت شتاب کاهش می یابد یعنی تغییرات سرعت آرام تر و در زمان بیشتری انجام می شود. با چرخش پیچ در خلاف جهت ساعت، شتاب تند تر می شود.
تنظیم سرعت کند جهت پایین
پیچ شماره 9 برای تغییر سرعت کند جهت پایین پیش از توقف در نظر گرفته شده است. برای کاهش سرعت کند (هم سطح سازی) کافی است پیچ شماره 9 در شیر بلین چهار بوبین را کمی به راست بچرخانید. چرخش پیچ در خلاف جهت باعث افزایش سرعت می شود. در نظر داشته باشید که این سرعت نباید آنقدر زیاد باشد که توقف نهایی با مشکل ایجاد شود.
تنظیم توقف شیر بلین چهار بوبین
تنظیمات توقف نهایی در شیر بلین چهار بوبین از طریق پیچ شماره 8 انجام می شود. با گردش پیچ در جهت داخل توقف آرامتر و گردش پیچ در سمت خارج توقف سریعتر انجام می شود. گاهی پیش می آید که به دلیل توقف بسیار آرام کابین تراز طبقه را رد می کند. در این مواقع باید کمی توقف را سریعتر تنظیم کرد.
تنظیم فشارشکن
در تمام شیرهای کنترل بلین، تنظیمات شیر فشار شکن از طریق پیچ S صورت می گیرد. شیر فشار شکن در سیستم های هیدرولیک حداکثر فشار سیستم را تعیین می کند. بدین ترتیب چنانچه فشار در سیستم به هر دلیل از حد مجاز بیشتر شود فشارشکن وارد عمل شده و از طریق بای پاس روغن به مخزن فشار را کاهش خواهد داد. حد فشار مجاز سیستم توسط طراح و سازنده جک و پاوریونیت مشخص می شود. با چرخاندن پیچ S به سمت داخل (ساعتگرد) حداکثر فشار مجاز افزایش می یابد. گردش پیج در جهت (پادساعتگرد) باعث کاهش فشار مجاز می شود. باید احتیاط کنید که هرگز پس از تغییر وضعیت پیچ فشار شکن شیر اصلی ربع گرد را فورا نبندید زیرا خطرناک است.
تنظیمات شیر بلین سه بوبین
شیر بلین سه بوبین یکی از محصولات خانواده kv بلین است که با سه بوبین عمل می کند و بیشترین کاربرد را در بالابرهای خانگی دارد. حداکثر سرعت این شیر 0.16 متر بر ثانیه است و در مسیر برگشت می تواند بصورت دوسرعته عمل کند.

منحنی سرعت شیر سه بوبین KV2S
شیر سه بوبین بلین مدل KV2S کاملترین منحنی حرکت در گروه محصولات KV را دارد. حرکت رو به بالا با فعال شدن بوبین A و موتور صورت میگیرد. در جهت پایین باید بوبین های C و D فعال وموتور غیرفعال باشند. توقف جهت بالا مستلزم پشتیبانی تابلو فرمان از طریق یک رله زمانی است. همچنین در توقف جهت پایین لازم است شیر کند کمی پیش از توقف کامل بی برق شود.

راهنمای تنظیم شیر سه بوبین بلین
- پیچ 1: تاخیر پیش از استارت جهت بالا (گردش به راست: تاخیر بیشتر)
- پیچ 5: توقف جت بالا (گردش به راست: توقف آرام تر)
- پیچ 6: شیب افزایش سرعت جهت پایین (گردش به راست: شتاب ملایم تر)
- پیچ 7: حداکثر سرعت جهت پایین (گردش به راست: سرعت کمتر)
- پیچ 9: سرعت کند جهت پایین (گردش به راست: سرعت کمتر)
همانطور که می دانید نقش پیچ S مانند تمام شیرهای دیگر برای تنظیم فشار حداکثر است.
تنظیم شیر دو بوبین بلین
در خانواده شیرهای KS شرکت بلین، مدل دو بوبین KV1S محبوب ترین محصول در بازار است. نوع دیگری از شیر دو بوبین نیز وجود دارد که هر دو بوبین در جهت پایین آمدن فعال می شوند. ولی شیر مدل KV1S یک بوبین را به توقف جهت بالا اختصاص داده و یک بوبین در جهت پایین فعال است. این شیر سایز ورودی های 1/2 اینچ دارد و بصورت تک سرعته با حداکثر 0.16 متر بر ثانیه عمل می کند.

محنحنی حرکت شیر بلین مدل KV1S
با استارت جهت بالا بوبین مربوطه و موتور فعال می شوند و مانند نمودار سرعت کابین به آرامی به سرعت رسیده و ادامه می دهد. هنگام توقف بوبین در حدود 1/2 ثانیه زودتر از موتور بی برق شده و پس از آن موتور نیز خاموش می شود. تابلو فرمان باید از این وضعیت پشتیبانی کند. در مسیر برگشت موتور خاموش است و بوبین برگشت فعال می باشد. مجددا پیش از توقف کامل بوبین باید غیرفعال شده تا کابین به آرامی متوقف شود.

راهنمای تنظیم شیر بلین دو بوبین
- پیچ 1: تنظیم وقفه قبل از حرکت بالا (گردش به راست: تاخیر بیشتر)
- پیچ 5: تنظیمات استاپ جت بالا (گردش به راست: توقف آرام تر)
- پیچ 6: شتاب مثبت جهت پایین (گردش به راست: شتاب ملایم تر)
- پیچ 9: سرعت جهت پایین (گردش به راست: سرعت کمتر)
- پیچ S نیز مانند سایر شیرها تنظیم فشار شکن است.
تنظیمات شیر بلین تک بوبین
شیر تک بوبین بلین ساده ترین شیر خانواده 1/2 تک سرعته است. حداکثر سرعت بالابر با استفاده از شیر تک بوبین 0.16 متر بر ثانیه است. این شیر بیشتر در بالابرهای سرویس و باری کوچک کاربرد دارد. در مقایسه با شیر تک بوبین تنها تفاوت این است که توقف جهت بالا بصورت تک ضرب بوده و حالت تدریجی را ندارد.

منحنی عملکرد
حرکت جهت بالای بالابر با فعال شدن موتور صورت گرفته و بوبین غیرفعال می ماند. در حرکت برگشت، موتور خاموش و شیر برقی بالابر فعال است. در واقع تنها بوبین این شیر کوچک مربوط به حرکت جهت پایین است. عملکرد این شیر بطور کلی بسیار ساده است و تنها یک نقطه ضعف دارد که مربوط به توقف در جهت بالا است. شروع حرکت در دو جهت و توقف در جهت پایین نرم و بدون شوک است.

راهنمای تنظیم شیر بلین تک بوبین
- پیچ 1: تنظیم بای پاس پیش از استارت (گردش به راست: تاخیر بیشتر)
- پیچ 6: شتاب شروع حرکت در جهت پایین (گردش به راست: شتاب ملایم تر)
- پیچ 9: سرعت برگشت (گردش به راست: سرعت کمتر)
- پیچ S که در همه شیرهای بلین ثابت است مربوط به تنظیمات فشار شکن می باشد.
مقایسه تنظیمات شیرهای بلین
قابلیت تنظیمات انواع شیرهای مکانیکی بلین، به منحنی عملکرد آنها بستگی دارد. شیرهای خانواده KV اصولا شیرهای تک سرعته هستند و شیرهای خانواده EV شیرهای دو سرعته. چنانچه یک طیف از نظر پیشرفتگی منحنی عملکرد در نظر گرفته شود شیر تک بوبین به عنوان ساده ترین مدل و شیر چهار بوبین پیشرفته ترین مدل است. واضح است که امکانات مربوط به تنظیمات شیر چهار بوبین نیز به مراتب بیشتر از شیرهای تک بوبین و دو بوبین می باشد. البته شیر سه بوبین به عنوان کامل ترین شیر خانواده KV دارای تنظیمات دقیق و قابل توجهی است.
اسپول شیر بلین در تنظیمات
همه مدل های BLAIN دارای اسپول های رفت و برگشت می باشند که دارای سایزهای مختلفی است. نوع اسپول باید توسط سازنده پاوریونیت بر اساس دستورالعمل های فنی شرکت بلین محاسبه و انتخاب شود. این مهمترین موضوع در انتخاب شیر است چراکه اگر اسپول به درستی انتخاب نشود هیچ گاه شیر کنترل عملکرد مطلوبی نخواهد داشت و اصولا امکان تنظیمات دقیقی نیز وجود ندارد. در دفترچه راهنمای شیرهای بلین چارت هایی برای محاسبه و انتخاب اسپول درج گردیده که بر ممبنای فشار و نرخ جریان آرایش گرفته اند.
دانلود دفترچه راهنمای شیر بلین
دفترچه راهنمای تنظیم و دیتاشیت شیرهای بلین سری EV که انواع گوناگون دارند شامل کلیه تنظیمات اولیه، مشخصات فنی، تصاویر و نقشه قطعات یدکی و ملحقات شیر می باشد. دانلود دفترچه راهنمای شیر بلین از اینجا قابل دسترس است.
خلاصه
آسانسور هیدرولیک یکی از محبوب ترین انواع آسانسور می باشد و شیر کنترل مهمترین قطعه آسانسور هیدرولیک است. یکی از پرآوازه ترین شرکت ها در زمینه تولید شیرهای کنترل با کیفیت بلین آلمان است. در این پست، تنظیمات کامل شیر بلین چهار بوبین، سه بوبین، دو بوبین و تک بوبین در قالب دفترچه راهنمای تنظیمات شیر بلین تشریح شد.
